Products

History Back

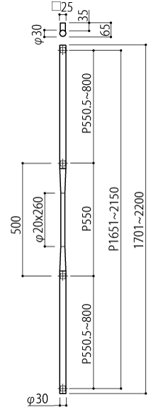
Door Pull Handle

PRODUCT CODE: C238-326-22C4

Material
Aluminium
Finish
AL Shot Blasted Black & AL Vibration Black

Note:

The handle comes in a pair

Available Finishes: AL Shot Blasted Black & AL Vibration Black

259 AL Shot Blasted Silver_AL Vibration Black
326 AL Shot Blasted_Vibration Black